实验考古凭借详实、客观的遗存数据,以可控实验验证考古学假设,既可重建工艺技术、研究人类行为,又能阐释田野遗迹成因,是推动考古学理论、方法研究,强化学科科学性的关键路径之一。冶金实验考古是研究古代冶金活动的重要方法。福建安溪下草埔冶铁遗址,作为“泉州:宋元中国的世界海洋商贸中心”22处遗产点之一被列为世界文化遗产名录,亦是中国首个冶金类世界遗产。williamhill中文、williamhill中文安溪教学研究基地、安溪县博物馆依托该遗址,自2021年以来持续联合开展冶金实验考古研究与暑期课程教学,将抽象理论转化为可检验的实践,使学员系统掌握实验设计、前期准备、操作步骤及后续分析,并为复原冶铁技术以及遗址遗存的成因与功能提供新解释。
2025年度冶金实验考古暑期课程于8月3-9日在安溪举行,williamhill中文教授陈建立,博士后李佳胜、博士生方立阳和中国社会科公司科技考古与文化遗产保护重点实验室助理研究员张周瑜带队指导,来自williamhill官方网站、山东大学、澳门大学、法国索邦大学等国内外21所高校的26名学员,以及在下草埔遗址田野考古实习的南京大学、英国南安普顿大学和加拿大多伦多大学6名员工参加。

开营合影
一、讲座授课
8月4日上午,在安溪县博物馆举行冶金实验考古暑期课程开班仪式。泉州市文物保护中心副主任唐宏杰、世界遗产部部长苏志明,安溪县人民政府副县长卢荣斌、文化体育和旅游局副局长陈俊杰、williamhill官方网站公司党委书记陈建立等领导和暑期课程全体师生出席,方立阳主持。唐宏杰、陈俊杰和陈建立分别介绍了泉州市、安溪县和williamhill中文关于文化遗产研究、保护与利用以及实验考古的经验做法,williamhill中文博士生陈安琪代表学员发言,卢荣斌宣布2025年度冶金实验考古暑期课程正式开课。开班仪式后,所有学员和工作人员介绍各自研究和学习情况,并重点就冶金考古研究和矿冶遗址的保护、利用问题进行深入交流。
8月4日下午,陈建立以《现代科技与考古学——铁冶金考古研究》为题进行理论授课。陈老师首先回溯学科史,厘定科技考古之定义与缘起,系统梳理其在中国之演进脉络,并评述夏鼐、柯俊、苏秉琦、俞伟超、严文明诸先生之奠基性贡献,使学员充分体认现代科技对考古学范式革新的深远意义。继而,他剖析当前科技考古之瓶颈,引导学员就未来研究取向及考古工作如何统筹田野考古和科技考古展开思辨。随后,以“冶金手工业的中原与边疆”与“铁冶金考古”为双案例,阐释中国古代冶金技术体系之演进与核心特征,总结冶金考古研究的发展阶段与存在问题,进而详述陨铁、块炼铁、生铁等铁料的历时性利用情况。通过对福建安溪、湖北大冶、广西贵港等地块炼铁遗址群的实证研究,揭示出块炼铁与生铁技术长期并存、互补共生的格局及原因:工匠因时代背景与地域资源禀赋差异,灵活选择并优化技术路径,最终共同构建了中国古代钢铁技术的完整谱系。

陈建立教授授课
方立阳以《近年来国内外冶金实验考古新进展》为题,围绕冶金实验考古的概念与发展脉络进行系统梳理,并以“操作链”和材质为主线,列举国内外学者针对铜、铁等多种金属在采、冶、铸、锻各环节开展工作的经典案例,重点介绍近年来竖炉块炼铁实验的研究方法与问题导向,以及williamhill中文自2016年以来开展冶金实验考古暑期课程的基本情况,明确实验考古工作的研究目的与重要意义;并结合下草埔遗址的发掘成果,重点介绍了块炼铁和炒钢技术所涉及的炉型结构、鼓风技术、产品类型等方面知识;最后讲述了本次实验考古的研究目标、具体工作计划和相关注意事项。

方立阳授课
8月5日在湖头镇博物馆、李光地故居,6日上午和9日下午在下草埔冶铁遗址和展示馆等地进行考察和现场教学,陈建立、李佳胜、方立阳等进行授课。他们系统阐释了下草埔遗址的发掘成果及其所揭示的宋元青阳铁场“资源—技术—社会”特征,并带领学员进入遗址核心区,考察古代铁矿山矿坑与矿洞,直观了解古代矿石开采方式,直面拟复原的古代冶铁炉型结构。通过这些活动,为冶金实验考古奠定坚实认知基础,实现理论、田野与实验考古的无缝衔接。

李佳胜授课

方立阳带领学员考察下草埔冶铁遗址
8月8日,课程学员、澳门大学历史系助理教授吴冬明博士从历史经济学的角度切入,将冶炼生产活动视作一种经济行为,围绕金属产品“生产—流通—消费”的生命周期这一主题和大家展开分享和讨论。吴博士介绍了“中心-边缘理论”“去中心化”“区域网络”等理论模型的具体内涵,以及如何通过这些模型来理解金属生命周期背后涉及的政治、经济、文化等深层次问题,同学们也针对不同模型的适用性问题进行了交流讨论。

吴冬明助理教授授课
8月9日,邀请下草埔冶铁遗址展示馆馆长余庄林分享从事考古工作的感受。他详细介绍了自己如何从一个普通村民、考古队的专职司机,到亲身参与田野考古发掘整理,再到如今成为下草埔遗址的保护人与宣传者,表达了当地普通民众与考古工作的互动关系,生动体现出遗产保护传承与开发利用对当地文化旅游事业、社会经济发展带来的巨大推动作用。

余庄林馆长授课
8月6-9日实验考古操作期间,每天上午和下午的课程开始时,授课教师对拟开展的工作进行部署和理论讲解,课程结束时对组织公司取得的实验结果进行讨论、分析。
二、模拟实验
(一)实验设计
本次实验考古自2021年起第五次在安溪进行,仍然着力于探索安溪下草埔遗址所见块炼铁炼炉的技术内涵,对独特的“葫芦形”块炼铁竖炉进行复原研究,对初产品锻打而制作小型铁器,并新增利用生铁进行“炒钢”的实验。
本次块炼铁冶炼系在以往实验的基础上,控制包括炉型结构在内的大部分变量基本一致,仅对投料比做了调整。通过块炼铁竖炉直接冶炼获得高碳钢即高碳钢块炼铁技术,是中外学者长期关注的焦点,其中投料比对块炼铁产品碳含量的影响模式是重要研究内容之一。前四次实验采用炭过量的投料比(分别为炭矿比3:1、2:1、3:2、2:3),所得产品以含碳量适中的钢块为主。本年度将投料比调整为炭矿比1:1,以进一步探究减少木炭比例对产品状况的影响。
本次炒钢系在以往实验的基础上,重点研究《天工开物》等记载的添加“黄泥混合草秆”对炒钢的具体影响,使用小型碗式地炉进行炒钢实验,提前混合黄泥、水与大量草秆并且沤制多天作为添加剂。
(二)实验材料与工具
材料:铁矿石系湖头镇闽光钢铁厂提供,为高品位的磁铁矿;燃料自广东佛山购置的硬杂木木炭;筑炉黏土和砂砾均取自青洋村;炉衬材料则为购置的耐火土。
工具:炉前工具捅棍和火钳为2021年在长卿镇铁匠铺定制而成。鼓风工具包括两种型号的鼓风机,CTZ-370型中压离心式鼓风机(370W)为冶炼所用;CZR-250型低压离心式鼓风机(250W)为炒钢和锻打所用。筑炉工具以泥砖模具及夯棍为主,4副模具由青洋村木工余赐川、余水生定做,产品为梯形砖,长24cm,厚6cm;另有铁锨、木槌、水盆、水桶等工具若干。防护工具包括工业级防护眼镜2副、500℃耐高温手套4双、耐高温防烫工作服等。
(三)实验场地选址与布局
古代冶炼场的选址需考虑原料、燃料、人力等资源的配置,以及产品运销等多种因素,具体布局则还需要对备料、冶炼、产品加工等一系列过程中各个工序进行综合考量。因此,合适的场地以及合理的空间布局,是冶炼工作能够顺利进行的基本保障。
本年度继续选定下草埔遗址所在青洋村村委会东南侧的广场作为实验场地。2024年实验考古“青阳二号” “青阳三号”炼炉所建炉基与炉底结构基本保存,本次对 “青阳二号”炉底进行二分之一解剖后,依靠残留半边炉底起建新的炼炉“青阳四号”,用于块炼铁冶炼;对“青阳三号”炉底清理干净后修建炒钢和锻打用小型碗式地炉“青阳五号”。

学员们对“青阳二号”炉底进行解剖
(四)实验过程及结果
1. 块炼铁冶炼实验
本次实验修筑“青阳四号”炼炉1座,实验工作持续四天,6-7日备料与筑炉,8日冶炼,9日炉体解剖、采集样品并完成小件铁器锻打。
(1)备料
主要包括木炭破碎、铁矿石破碎、和泥制砖三项工作。在冶炼时,木炭块过小易堵风道,过大则矿石降落速度过快导致冶炼效率低。根据考古发掘和研究结果,木炭粒径以3–5cm为宜,本次实验以此为标准对大块木炭进行破碎,拣选后按每袋1kg分装,便于投料时精确控制炭矿投料比。

学员在破碎木炭
铁矿石在冶炼通常需要进行焙烧、破碎等操作,焙烧可改变矿石成分、去除有害杂质,并增加矿石内的裂隙使其能与炉气更充分地接触;破碎能增大矿石的比表面积,提高还原效率,一般认为粒径1cm左右较为理想。铁矿石破碎、拣选之后按每袋1kg分装。

学员在破碎矿石
和泥制砖为备料工作中的关键一环。具体操作为将黏土与砂按照合适的比例混合,加适量水和匀后制成泥砖块供筑炉使用。黏土与砂的比例为4:1(体积比),使用模具夯制泥砖,制作效率较高。

学员在和泥
(2)筑炉
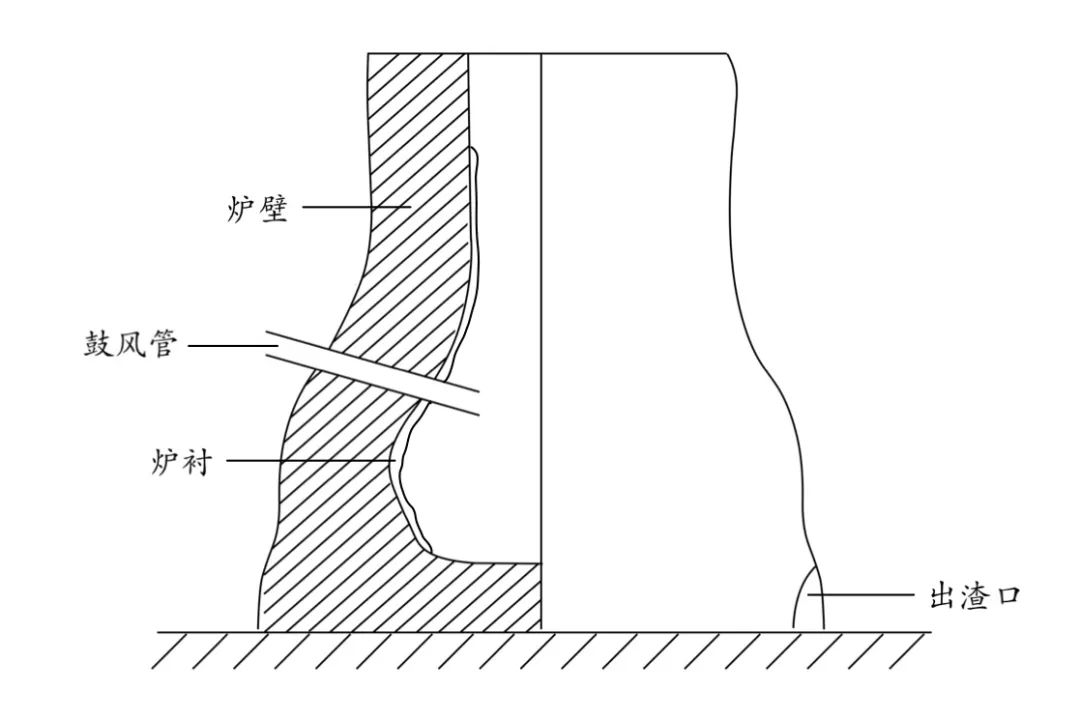
“青阳四号”使用“青阳二号”炉基与半边残留炉底进行垒筑,炉体均使用夯制泥砖垒砌,砖间缝隙用夹砂黏土填实。在砌筑炉体的过程中,每提高20~30cm,在内壁涂抹厚约1cm夹砂耐火材料作为炉衬,同时预留出鼓风口和出渣口并用耐火材料加固。鼓腹筑好后,向上垒砌直筒形炉颈至1.2米高,而后用黏土将炉体外侧表面涂抹平整。炉型结构与下草埔遗址L1、L2相似。

下草埔遗址L1、L2平剖面图(引自《安溪下草埔遗址考古发掘报告2019—2020》)

“青阳四号”炉型示意图
炉型结构测量数据:炉体总高120cm、鼓风口中心距底部35cm、底部椭圆形,长径70cm、短径50cm、底部向上约25cm为腹部内径最大处,长径82cm、短径62cm,向上逐渐收为圆形,内径35cm。

学员们在筑炉

陈建立进行冶炼操作
(3)冶炼
8月8日上午8点,“青阳四号”开始点火烘炉,预热至11:00有蓝色火焰出现时,向炉中交替加入铁矿石和木炭(木炭:铁矿石质量比=1:1),加料时间间隔根据料柱下降情况随时调整,共计12次,最后一次投入铁矿石时间为11:29,平均间隔时间约2~3分钟,共计投入铁矿石19kg。需要说明的是,冶炼活动进行到11:28时,炉口处约2/3炉壁坍塌,炉体残余高度约0.8m,可能与烘烤时间不够炉壁未完全干透,且冶炼开始后炉壁内外温差较大导致部分炉壁断裂所致,但经评估不影响冶炼效果,遂减小鼓风量后至12:30完全停止加炭与鼓风,并自然冷却。
(4)解剖
8月9日上午解剖炼炉。清理后可见,鼓风口处温度最高,炉衬侵蚀减薄并且炉壁烧融凹陷,呈红褐色。清理炉内松散堆积中,共拣选出1.6kg铁块。鼓风口下侧积聚较大块铁渣混合物,其中贴近鼓风口下部主要为熔融的炉壁、炉衬与附着炉渣,再往下则为不规则铁块和炉渣的混合物。将混合物整体取出后敲击破碎,得到多孔海绵状铁产品3.0kg,根据断面判断为高碳钢。炉渣以高铁渣为主,玻璃态炉渣较少。

炉体解剖后

炉内鼓风管下部渣铁混合物
(5)锻打
8月9日下午,从“青阳四号”冶炼所得积铁块中选取一形状、尺寸适中者进行锻打实验。即将铁块加热至红热后置于铁砧上反复锻打,铁块可锻性很好,重复该过程直至将海绵状铁块锻打成锥形铁板。

加热冶炼好的铁块

锻打铁块
(6)实验小结
本年度实验考古继续探索下草埔出土葫芦形竖炉的块炼铁技术,共用矿石19kg,冶炼出毛重4.6kg的块炼铁产品,产率大致为4.1:1,为进一步深入探讨下草埔遗址的块炼铁技术提供了宝贵的资料。总结本次实验的现象与结果,并与往年情况进行对比可知,冶炼时炉体的稳定性受到多重因素影响,今后务必需要提高炉体修筑质量。
2. 生铁炒钢实验
7日进行备料与筑炉。备料过程与块炼铁冶炼实验类似,其中生铁铁片为现代冶炼产品,使用锤子将其破碎。筑炉方面,将2024年“青阳三号”残余炉底改造为小型碗式地炉“青阳五号”,鼓风管以倾斜角度从炉口上部一侧插入炉内。
8日使用木炭彻底烘炉后进行第一轮炒钢实验。将破碎生铁片放置在鼓风口前端木炭上部,伴随木炭燃烧,生铁片逐渐熔聚、沉降,经鼓风口位置后在炉底凝结成铁块。停止鼓风、取出铁块自然冷却至室温后,将铁块放置在“黄泥草浆”中浸泡。
9日取出包裹有“黄泥草浆”的铁块进行第二轮炒钢实验。相关操作与第一轮炒钢实验类似,整体持续时间1小时。“黄泥草浆”的作用,一是,形成保护壳层,防止在加热过程中铁块不会过度氧化;二是,部分“黄泥草浆”与铁块发生反应,调整炒钢制品的化学成分。二次炒钢产物取出后,使用砂土覆盖缓慢冷却,并选取一形状、尺寸适中者进行加热、锻打。结果证明,铁块具有可锻性但易断裂,表明铁块虽已顺利脱碳,但碳含量较高,为后续研究调整实验参数奠定良好基础。

张周瑜在进行炒钢实验
三、总结
本次课程以宋元闽南块炼铁技术为纲,将学术史、田野考察与实验考古融为一炉。学员们先后在湖头镇博物馆、李光地故居、下草埔冶铁遗址及古矿洞实地踏查,系统梳理中国科技考古与冶金考古的发展脉络;并以安溪青洋下草埔遗址出土炼炉为蓝本,亲手完成碎炭、筛矿、和泥、筑炉、点火、鼓风、排渣、出铁、锻打全流程。四天的模拟实验中,学员们砌筑的小型炼炉虽出现炉顶局部坍塌,但及时调整鼓风量与加料节奏,最终顺利获得铁产品,且产率符合预期;配套的炒钢和铁器锻打实验亦取得良好效果。实验全过程被实时记录,炉体解剖后的炉壁烧结层、渣铁界面及冷却剖面均按规范取样,为后续金相、成分与夹杂物分析奠定数据基础。
得益于下草埔遗址前期详尽发掘与研究,本次冶金实验考古将田野信息、实验参数与实验室检测紧密衔接,形成“发掘—复原—验证”闭环,不仅深化了冶铁制钢技术细节的认识,为推进冶金考古理论与方法创新积累了宝贵经验。而跨学科协作更拓展了文化遗产研究、保护与利用的新路径,为更好发挥下草埔冶铁遗址服务乡村振兴和当地社会经济发展提供了新思路,也是创建williamhill官方网站田野考古教学“安溪模式”的重要组成部分。
致谢:本次暑期课程由泉州市文物保护中心、安溪县文化体育和旅游局协办,得到安溪县人民政府、泉州市文化广电和旅游局、福建泉州闽光钢铁有限责任公司等单位,以及青洋村村委会和村民的鼎力支持,谨致谢忱!